I’ve been asked to move a thread about adjusting Yamaha power valves and decided that some of the info in other threads needed to be included as well. I’ve done some copy and pasting to come up with this summary for the Tech FAQ forum. These are all quotes from various TY members, thanks for sharing the following info. The TY Tech section has some images from a Yamaha service manual and the procedure to service the power valves if you have the wiring pigtail. http://www.totallyamaha.com/snowmobiles/aaTECH/YPVS/YPVS.htm and another member thread with additional pictures here: http://www.totallyamaha.net/forums/showthread.php?t=55625
Modified Yamaha service Method:
1. Set servo to full open(lower idle below 900 RPM, not necessary on Viper ER's, just turn the key on), then make alignment marks on the servo (helps later if it moves on you).
2. loosen the cables all the way up @ the servo cable adjusters
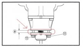
3. loosen the two Allen bolts #11 @ the power valve housing and pull it back
4. Insert the 2.5mm Allen wrench’s (or other suitable spacer), go back up to the servo and GENTLY tighten the cable adjusters so it pulls the two P/V housings together, so it just touches the wrench (chosen spacer), then pull out wrench and tighten the two bolts and the cable adjuster lock nut.
5. re-peat on the other two cables
Question #1
On a Viper ER, am I correct that I do not need the engine running, but just turn the key on, and then follow the procedure? Do I need to remove the servo cover at all?
Answer #1
Yes you are correct on the ER because it has a battery already the servo has power available.
And yes I would pull off the cove to make sure it cycled.
Question #2
so are you saying to set them the Yamaha way or set them by pulling the pipes off(more information about this method can be found here).....I like the way of setting them the Yamaha way much quicker and easier to do.....any difference between the two ?
Answer #2
The Yamaha method that’s in the service manual takes about a 1/4 of the time and it is correct as to the valve placement in the cylinder when opened. It adjusts the valve perfectly and the exhaust port opening roof is raised, that’s where your power increase is from not the short end of the bevel being flush on the exhaust roof, although the Yamaha method will put the valve in perfect adjustment. I have been doing them this way since 1998, to each their own. I don’t have cables pulled thru the ends, never been a problem for me doing it this way, with the other way you are pulling the cable back further then needed and it does tug the valve against the return spring more, this applies more pressure to the cable end inside the power valve tip.
If you feel the need to waste a good hour of your time, take off the manifolds and pipes and all and reach up in there and do it, I like to spend 15 minutes and have the job complete and be out riding, but that’s just me. I follow the book as it’s twice as easy and it works for me.
Make your own decision and do whatever way you feel like is the right way for you!
Modified Yamaha service Method:
1. Set servo to full open(lower idle below 900 RPM, not necessary on Viper ER's, just turn the key on), then make alignment marks on the servo (helps later if it moves on you).
2. loosen the cables all the way up @ the servo cable adjusters
3. loosen the two Allen bolts #11 @ the power valve housing and pull it back
4. Insert the 2.5mm Allen wrench’s (or other suitable spacer), go back up to the servo and GENTLY tighten the cable adjusters so it pulls the two P/V housings together, so it just touches the wrench (chosen spacer), then pull out wrench and tighten the two bolts and the cable adjuster lock nut.
5. re-peat on the other two cables
Question #1
On a Viper ER, am I correct that I do not need the engine running, but just turn the key on, and then follow the procedure? Do I need to remove the servo cover at all?
Answer #1
Yes you are correct on the ER because it has a battery already the servo has power available.
And yes I would pull off the cove to make sure it cycled.
Question #2
so are you saying to set them the Yamaha way or set them by pulling the pipes off(more information about this method can be found here).....I like the way of setting them the Yamaha way much quicker and easier to do.....any difference between the two ?
Answer #2
The Yamaha method that’s in the service manual takes about a 1/4 of the time and it is correct as to the valve placement in the cylinder when opened. It adjusts the valve perfectly and the exhaust port opening roof is raised, that’s where your power increase is from not the short end of the bevel being flush on the exhaust roof, although the Yamaha method will put the valve in perfect adjustment. I have been doing them this way since 1998, to each their own. I don’t have cables pulled thru the ends, never been a problem for me doing it this way, with the other way you are pulling the cable back further then needed and it does tug the valve against the return spring more, this applies more pressure to the cable end inside the power valve tip.
If you feel the need to waste a good hour of your time, take off the manifolds and pipes and all and reach up in there and do it, I like to spend 15 minutes and have the job complete and be out riding, but that’s just me. I follow the book as it’s twice as easy and it works for me.
Make your own decision and do whatever way you feel like is the right way for you!
Attachments
Last edited:
daman
New member
if your cables/cable are to tight when doing step 1(setting servo)your servobluewho said:The thing i dont understand and i will delete my post if someone can prove me wrong.Is the order of doing this.If you were to work on a sled that you dont know if the cables were adjusted to tight before hand your servio will not open all the way?Backing off the cables first and than starting sled or turning key will prevent this?
will jitter(its trying to set position and hold it but can't)
did that help?
I did notice that my new cables did not require much "adjustment" and they must really stretch over time.
bluewho
Active member
YES TKS Daman
daman
New member
NP...bluewho said:YES TKS Daman
RIVERRUNNER
Active member
Got to love those heads

daman
New member
RIVERRUNNER said:Got to love those heads![]()
you the man RR

